Ir para o conteúdo
Warner Bros
Confira quais são
Hogwarts Legacy revela estatísticas absurdas após 2 semanas de seu lançamento
Hogwarts Legacy
,
Warner Bros
Eu, Robô
Warner Bros está trabalhando em robô virtual para interagir com jogadores
Inteligência Artificial
,
Warner Bros
Saiba como funciona
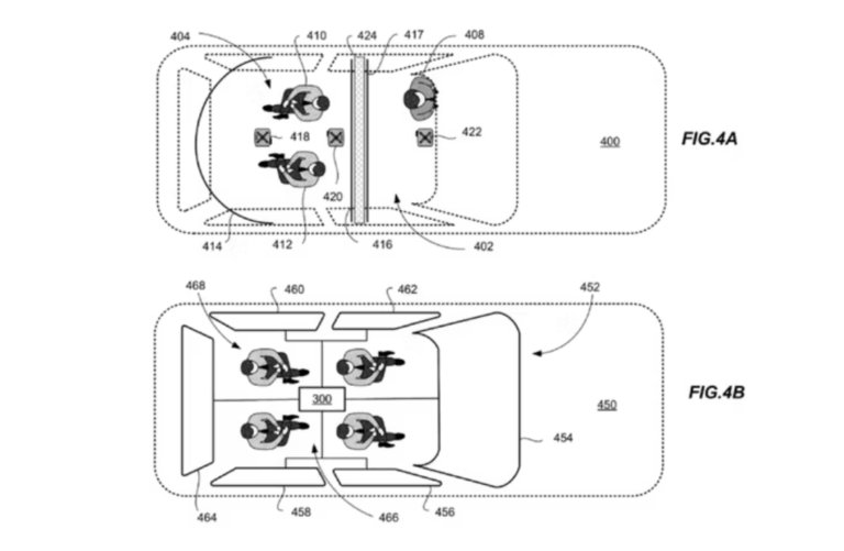
Warner Bros testa patente para jogos multiplayer entre veículos
Tesla
,
Warner Bros
Fale 3x seu nome
MultiVersus pode ganhar mais dois novos personagens
Multiversus
,
PC
,
PlayStation
,
Warner Bros
,
XBOX
Harry Potter
Hogwarts Legacy ganha imagens inéditas
Harry Potter
,
Hogwarts
,
Hogwarts Legacy
,
Warner Bros
Vai demorar
Novo jogo do Esquadrão Suicida é adiado para 2023
Adiado
,
DC
,
Esquadrão Suicida
,
lançamento
,
Warner Bros
Tá online
Warner Play inaugura primeira loja on-line com diversos produtos e games
Warner Bros
,
Warner Games
Gotham Knights
Gotham Knights: novo trailer do jogo da DC destaca a “Corte das Corujas”
DC
,
DC Fandome
,
Gotham Knights
,
trailer
,
Warner
,
Warner Bros
,
Warner Games
Kontestável
Crítica Mortal Kombat (2021): Uma “Konfusão” em forma de filme
Mortal Kombat
,
Mortal Kombat Filme
,
Warner Bros
Chegou a hora!
Mortal Kombat chega ao HBO Max e divide opiniões de críticos
MK
,
Mortal Kombat
,
Warner Bros
Página
1
Página
2
Página
3
Colunas
Críticas
Entrevistas
Fale com a redação
Listas
Notícias
Jogos
Colunas
Críticas
Entrevistas
Fale com a redação
Listas
Notícias
Jogos