Uma patente recente mostra um importante recurso de acessibilidade que a Sony pode estar planejando usar para melhorar o PS VR2 em relação ao original para jogadores com uma amplitude de movimento limitada. Essa acessibilidade aprimorada pode ajudar a compensar a falta de compatibilidade com versões anteriores do PS VR2, especialmente para jogadores que podem não ter sido tão acomodados pelo periférico de realidade virtual anterior.
Veja também:
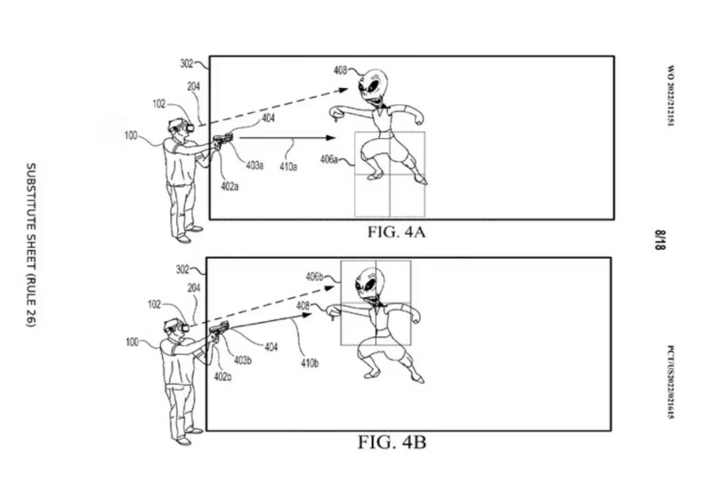
Esta informação vem de uma patente registrada no início deste ano que já foi publicada para visualização, que estabelece exatamente como o PS VR2 planeja usar este sistema para tornar os menus mais fáceis de navegar com base nas capacidades do jogador. O mais interessante sobre o novo recurso é a maneira como ele não usa a entrada direta dos jogadores, mas rastreia o movimento de um jogador para fazer alterações dinâmicas.

A própria patente detalha que o objetivo do sistema é monitorar sempre que um jogador tenta interagir com objetos dentro do mundo da realidade virtual enquanto usa o headset e os controles do PS VR2. Como resultado desse monitoramento, ele tenta saber onde o jogador pode interagir e, em seguida, move dinamicamente os menus para colocá-los na área mais facilmente acessível.
Isso pode não necessariamente tornar jogos específicos mais acessíveis, mas pode pelo menos facilitar a navegação pelos menus de futuros títulos do PS VR2. Na maioria das vezes, no entanto, muito desse recurso de acessibilidade pode ser resumido ao PS VR2, aprendendo que tipo de movimento um jogador é capaz de fazer e movendo a tela para acomodar.
De acordo com algumas explicações fornecidas no pedido de patente, isso também pode ir além de simplesmente alterar os posicionamentos do menu e pode realmente redefinir completamente onde a perspectiva central do jogador está no mundo virtual.
Isso poderia tornar este sistema um dos maiores recursos do PS VR2, tanto para aqueles que precisam das opções de acessibilidade, mas também para os fãs que podem gostar de opções de configuração mais dinâmicas.

As opções de acessibilidade geralmente podem ser usadas como um problema de palavra de ordem que ajuda a dar aos desenvolvedores de hardware e software de jogos uma aparência positiva para os fãs. No entanto, para muitos entusiastas de jogos, a acessibilidade pode ser a diferença entre poder se envolver totalmente com um jogo ou deixá-lo indisponível devido às suas capacidades específicas.
Nesse caso, esse sistema básico pode ajudar a tornar mais os jogos do PS VR2 acessíveis a todos os jogadores, especialmente aqueles que historicamente foram deixados para trás na indústria de jogos.
Espera-se que o PS VR2 seja lançado no início de 2023.
Via: Game Rant/