Com a proliferação de streaming e compartilhamento de gameplay recentemente, a Sony está procurando uma função que permita aos espectadores interagir melhor com streamers e Let’s Play-ers em tempo real. Sendo assim, a Sony Interactive Entertainment entrou com um pedido de patente junto à Organização Mundial de Propriedade Intelectual (WIPO), intitulado “Feedback do jogador para aumentar o espectador em um videogame”. A patente foi depositada em março de 2021, mas foi publicada oficialmente e tornada pública em 7 de outubro.
Veja também:
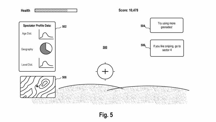
O pedido de patente apresenta rascunhos para a ideia básica do que eles querem fazer. De um lado, há caixas aparentemente sobrepostas no topo da jogabilidade que parecem que os jogadores podem fazer perguntas aos espectadores e eles respondem, permitindo que o streamer veja como votaram. Do outro lado, há uma caixa que diz “Dados do perfil do espectador” com gráficos que mostram a idade do espectador, a região e a distribuição do nível do jogador. Estes são apenas gráficos stand-in apenas para mostrar a ideia do que a Sony pretende fazer com esta patente.

Uma descrição mais detalhada da patente detalha os sistemas que seriam executados em segundo plano. As informações adicionais incluem a interação entre o sistema de jogo, streaming ou serviços de jogos em nuvem, métricas de jogador mais específicas e muitos outros quadros, gráficos e descrições altamente técnicos. Essas informações são detalhadas em figuras, imagens, textos e gráficos complementares ao longo do restante do documento.
A ideia geral da patente parece melhorar a qualidade das interações do streamer e do espectador nos produtos e serviços da Sony. Existem algumas funções em outras plataformas de streaming que visam fazer coisas semelhantes, mas esta patente visa adicionar isso no nível de hardware ou firmware. Parece que essa função também permitirá que os espectadores vejam o conteúdo com estilos de jogo específicos, como jogar de forma mais agressiva ou furtiva, e coisas dessa natureza.
Pense em jogos que são populares com streamers, como a série Life is Strange e outros jogos narrativos que podem ser focados nas escolhas do jogador com informações do espectador. Esta função visa melhorar a atividade e o envolvimento entre o streamer e seu público, se usada conforme o pretendido.
Pedidos de patentes como este são padrão no espaço técnico, caso a tecnologia se desenvolva e permita que ela progrida para um ativo tangível. Ele se junta a uma longa lista de patentes proativas da Sony. A patente da WIPO é apenas para a Sony manter, caso desenvolva a tecnologia para implementá-la. Isso não quer dizer que essa função avançará dessa forma ou se a empresa ainda terá permissão para avançar com a ideia.