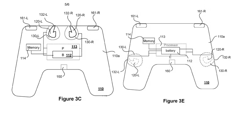
A Sony registrou uma nova patente para uma nova versão do controle DualSense, a qual terá dois slots para colocarem os fones de ouvido que poderão ser recarregados usando o controle. Além disso eles não servirão apenas como bateria, mas também para guarda-los. Foram reveladas também algumas imagens conceituais de como que poderá funcionar essa nova versão, confira elas abaixo.
Veja também:



A Sony anunciou esse conceito alguns dias depois de ter lançado um novo fone de ouvido sem fios, o InZone Buds, a qual também pode ser usado no PlayStation 5, smartphones e no PC. Sua bateria deve aguentar até 12 horas de uso continuo. Ele também tem recursos para otimização de som e suporte a áudio espacial de 360º
Vale lembrar que, as imagens acima não são as versões finais e por mais que a Sony tenha patenteado uma versão nova de seu DualSense, não quer dizer que a empresa está trabalhando ativamente nele. Mas pode acontecer também dela anunciar em algum momento como que será a versão final, que poderá apresentar diferenças no seu visual ou funcionamento.
Também vale destacar que, não só a Sony mas outras empresas de tecnologia como a Microsoft ou a Apple sempre estão trabalhando ou bolando novas ideias para seus produtos, a quais nunca podem ver a luz do dia ou serem reveladas em um futuro próximo, como eventos de videogame ou feiras de tecnologia.